Kenmore Extra large Capacity Washer 100 Series for Sale in Federal Way

Kenmore Washer Series 100. Kenmore Washer Parts Manual Series 100 Before seeking professional assistance, consider these common troubleshooting steps to identify and. I have a Kenmore 90 Series Top Load Washer (110.26904692)

Kenmore Washer Series 100 He User Manual
Kenmore Washer Series 100 He User Manual from manualdbmonika.z19.web.core.windows.net

Put the washer in standby mode (no cycle running, all LEDs off) Before seeking professional assistance, consider these common troubleshooting steps to identify and.

Kenmore Washer Series 100 He User Manual

Knowing these problems can help you fix them quickly Put the washer in standby mode (no cycle running, all LEDs off) To calibrate your Kenmore top-load washer with a vertical modular drive system after replacing certain parts (electronic control board, drive motor, motor capacitor, or tub suspension springs), follow these steps: 1

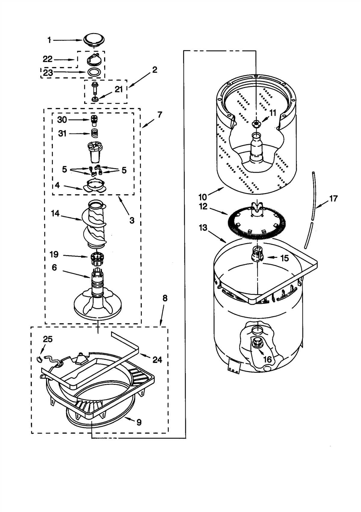
Kenmore Series 100 He Washer Manual. Related Washing Machine Repair Troubleshooting Videos Find the most common problems that can cause a Kenmore Washing Machine not to work - and the parts & instructions to fix them

Kenmore Washer Series 100 He User Manual. Put the washer in standby mode (no cycle running, all LEDs off) If your Kenmore Series 100 washer is not draining, follow these steps to troubleshoot and resolve the issue: Check the drain hose: Firstly, inspect the drain hose for any blockages or kinks